Allegro MicroSystems APS122x Hall-Effect Sensor ICs
Allegro MicroSystems APS122x Hall-Effect Sensor ICs are three-wire, planar ICs developed in accordance with ISO 26262:2011. These sensor ICs feature AEC-Q100 qualification and are ideal for high-temperature operation up to 175°C junction temperatures. The APS122x sensor ICs include features explicitly designed to maximize system robustness, such as reverse battery protection, output current limiter, overvoltage, and EMC protection. These Hall-effect sensor ICs include onboard transient protection for all pins, permitting operation directly from a vehicle battery or regulator with supply voltages from 2.8V to 24V. The APS122x sensor ICs come in through-hole and surface mounting packages.Features
- Automotive-grade ruggedness and fault tolerance:
- Extended AEC-Q100 qualification
- Reverse-battery and 40V load dump protection
- -40°C to 175°C operating junction temperature range
- High EMC immunity and ±12kV HBM ESD
- Output short-circuit and overvoltage protection
- Superior temperature stability
- Resistant to physical stress
- Symmetrical latch switch points
- ASIL A functional safety compliance (pending assessment)
- 2.8V to 24V supply voltage range
- Chopper stabilization
- Solid-state reliability
- Industry-standard packages and pinouts
Specifications
- Absolute maximum ratings:
- 30V forward supply voltage (VCC)
- –18V reverse supply voltage (VRCC)
- 30V output off voltage (VOUT)
- 60mA output current (IOUT)
- –50mA reverse output current (IROUT)
- –65°C to 170°C storage temperature range (Tstg)
- 800kHz chopping frequency (fC)
- 1mA to 3mA supply current range (ICC)
- 10µA maximum output leakage current (IOUTOFF) at VOUTOFF=24V, B<BRP
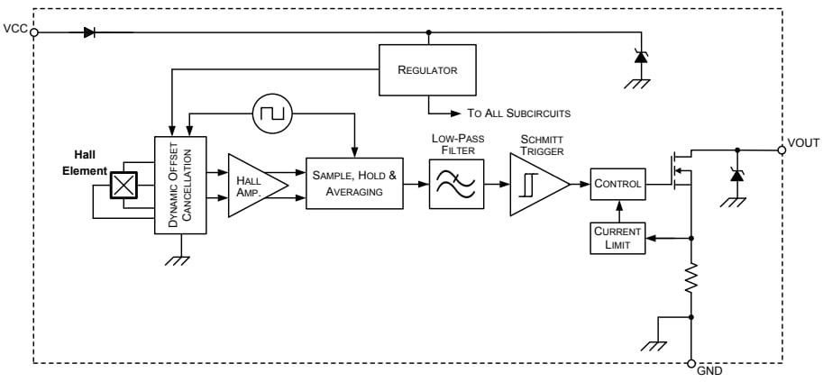
Functional Block Diagram
Typical Application Diagram
View Results ( 9 ) Page
| Part Number | Package/Case | Packaging | Standard Pack Qty |
|---|---|---|---|
| APS12200LUAA | HUA-3 | Bulk | 4000 |
| APS12210LLHALT | ZLH-3 | Reel | 3000 |
| APS12230LLHALT | ZLH-3 | Reel | 3000 |
| APS12200LLHALT | ZLH-3 | Reel | 3000 |
| APS12210LLHALX | ZLH-3 | Reel | 10000 |
| APS12200LLHALX | ZLH-3 | Reel | 10000 |
| APS12210LUAA | HUA-3 | Bulk | 4000 |
| APS12230LLHALX | ZLH-3 | Reel | 10000 |
| APS12230LUAA | SIP-3 | Bulk | 4000 |
Published: 2023-03-29
| Updated: 2023-05-15
