Analog Devices Inc. TMCM-3216 Stepper Motor Controller/Driver Modules
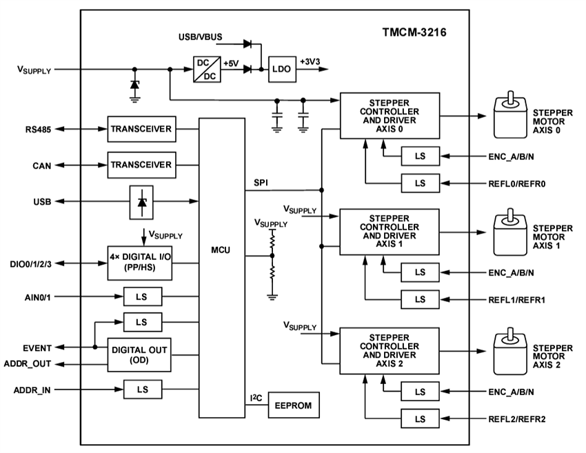
Analog Devices TMCM-3216 Stepper Motor Controller/Driver Modules are compact, 3-axis bipolar stepper motor controllers and standalone driver boards. The Analog Devices TMCM-3216 boards support up to three bipolar stepper motors with up to 2ARMS motor coil current and offer single-supply operation with 24VDC typical (10V to 30V range). There are separate reference/stop switches and incremental A/B/N encoder inputs per motor axis. Additionally, the module offers four programmable digital inputs and outputs configurable as push-pull or high-side outputs. Two analog inputs support 0V to 10V signals. A USB interface is available for configuration and updates. The RS485 and CAN bus interfaces can be used for in-system communication and daisy-chaining boards to simplify wiring through bus connectors at each end of the board.Features
- 3-axis stepper motor controller/driver
- 10V to 30V supply voltage range, 24V typical
- Three 1.5ARMS motor current, 2ARMS peak
- Eight-point hardware ramp generator
- StealthChop™/SpreadCycle™
- REFL/REFR reference switch inputs per motor axis
- A/B/N encoder input per motor axis
- Four DIGITAL_IN/OUT, 24V push-pull or high-side
- Two ANALOG_IN, 0V to 10V
- RS485/CAN/USB interfaces
- 85mm x 55mm (credit-card size)
- Automatic board address assignment at power-up (optional)
- TMCL, CANopen
Applications
- Industrial automation
- Laboratory automation
- Medical devices
Videos
Multi-Axis Application Example
Connectors
Onboard LEDs
Block Diagram
Published: 2025-01-17
| Updated: 2025-06-20
