Analog Devices / Maxim Integrated DS28E83 DeepCover 1-Wire Authenticator

Analog Devices Inc. DS28E83 DeepCover 1-Wire Authenticator is a radiation-resistant secure authenticator that provides a core set of cryptographic tools. These tools are derived from integrated asymmetric (ECC-P256) and symmetric (SHA-256) security functions. ADI DS28E83 integrates a FIPS-compatible true random number generator (TRNG), 10Kb of secured OTP, one configurable GPIO, and a unique 64-bit ROM identification number (ROM ID). The ECC public/private key capabilities operate from the NIST-defined P-256 curve and include FIPS 186-compliant ECDSA signature generation and verification to support a bidirectional asymmetric key authentication model. The SHA-256 secret key capabilities comply with FIPS 180 and are flexibly used in conjunction with ECDSA operations or independently for multiple HMAC functions.

Features

  • High radiation resistance allows users programmable manufacturing or calibration data before medical sterilization
    • Resistant up to 75kGy (kiloGray) of radiation
    • One Time Programmable (OTP) 10kb of user data, keys, and certificates
  • ECC-P256 compute engine
    • FIPS 186 ECDSA P256 signature and verification
    • ECDH key exchange for session key establishment
    • ECDSA authenticated R/W of configurable memory
  • SHA-256 compute engine
    • FIPS 180 MAC for secure download/boot
    • FIPS 198 HMAC for bidirectional authentication and optional GPIO control
  • SHA-256 OTP (One-Time Pad) encrypted R/W of configurable memory through ECDH established key
  • ±8kV HBM ESD protection of 1-wire IO pin
  • 6-pin, 3x3mm TDFN
  • One GPIO pin with optional authentication control
    • Open-drain, 4mA/0.4V
    • Optional SHA-256 or ECDSA authenticated on/off and state read
    • Optional ECDSA certificate to set on/off after multiblock hash for secure download
  • TRNG with NIST SP 800-90B compliant entropy source with function to read out
  • Optional chip-generated Pr/Pu key pairs for ECC operations or secrets for SHA256 functions
  • Unique and unalterable factory programmed 64-bit identification number (ROM ID)
    • Optional input data component to crypto and key operations
  • Advanced 1-wire protocol minimizes interface to just single contact
  • 3.3V ±10%, 0°C to +50°C operating range

Applications

  • Medical consumables secure authentication
  • Medical tools/accessories identification and calibration
  • Accessory and peripheral secure authentication
  • Secure storage of cryptographic keys for host controllers
  • Secure boot or download of firmware and/or system parameters

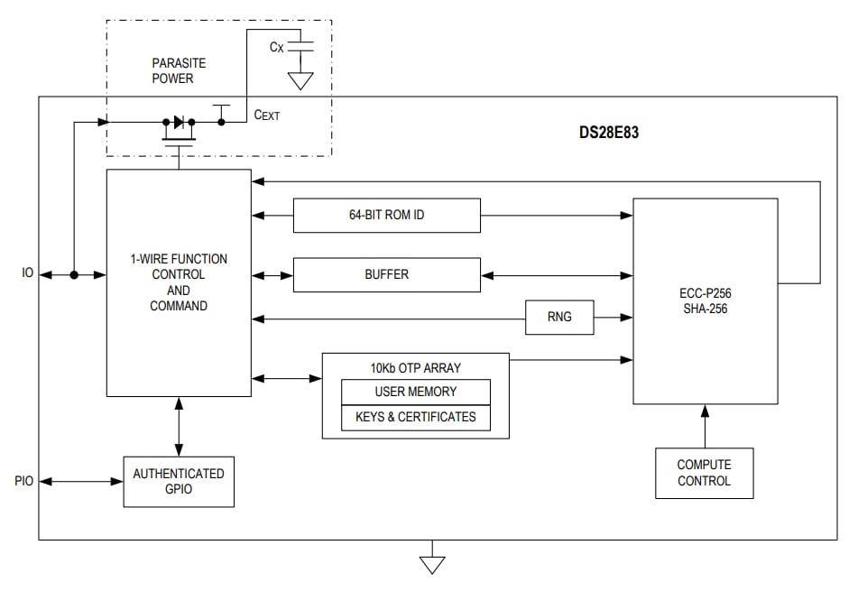
Block Diagram

Block Diagram - Analog Devices / Maxim Integrated DS28E83 DeepCover 1-Wire Authenticator
Published: 2018-06-21 | Updated: 2023-04-11