Broadcom APDS-9922/APDS-9160 Sensors

Broadcom APDS-9922/APDS-9160 Ambient Light and Proximity Sensors provide a digital I2C compatible interface ambient light sensor (ALS) and proximity sensor with IR LED in a single 8-pin package. The ALS allows a photopic response to light intensity in low light conditions or behind a dark faceplate. The device approximates the human eye's response, providing a direct readout where the output count is proportional to the ambient light level. The APDS-9922/APDS-9160 Sensors feature a low light functionality, enabling operation behind darkened glass. The proximity detection feature operates well in bright sunlight to dark rooms. The micro-optics lenses within the module allow highly efficient transmission and reception of infrared energy, which lowers overall power dissipation. The device utilizes the low-power standby mode resulting in a very low average power consumption.

Features

  • ALS, IR LED, and Proximity detector in an optical module
  • Ambient Light Sensing (ALS)
    • Light output proportional to light intensity
    • Uses optical coating technology to emulate the human eye spectral response
    • Works well under different light source conditions
    • Low light sensitivity -- operates behind darkened glass
    • Up to 20-bit resolution
  • Proximity detection
    • Integrated IR LED and synchronous LED driver
    • Up to 11-bit resolution
  • Power management
    • Low active current
    • Low standby current
  • I2C Interface compatible
    • Up to 400kHz (I2C Fast-Mode)
    • Dedicated Interrupt Pin
  • Wide supply voltage 1.7V to 3.6V
  • Small package

Applications

  • Cellphone backlight dimming
  • Cellphone touch-screen disable
  • Automatic speakerphone enable
  • Digital camera eye sensor

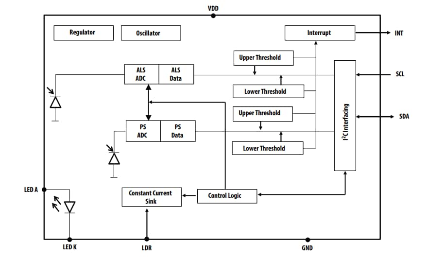
APDS-9160-003 Block Diagram

Block Diagram - Broadcom APDS-9922/APDS-9160 Sensors

APDS-9922-001 Block Diagram

Block Diagram - Broadcom APDS-9922/APDS-9160 Sensors
Published: 2018-12-17 | Updated: 2024-09-19