Epson ICs S1C31W74 32-Bit Microcontroller

Epson S1C31W74 32-bit Microcontroller with an ARM® Cortex®-M0+ processor features low-power operation. This MCU incorporates an LCD driver capable of driving up to a 2,304 dot LCD panel and large-capacity flash memory. The S1C31W74 MCU saves board space and reduces the bill of materials. This S1C31W74 MCU is a single chip housed in a 1mm thick VFBGA8HX-181 package. The S1C31W74 is suitable for various kinds of battery-driven controller applications.

Features

  • ARM 32-bit RISC CPU core Cortex-M0+
  • Embedded 72SEG × 32COM LCD driver
  • Embedded 512KB flash memory and 128Kbyte RAM
  • Various interfaces such as UART, QSPI, I2C, and USB that support
  • DMA transfer

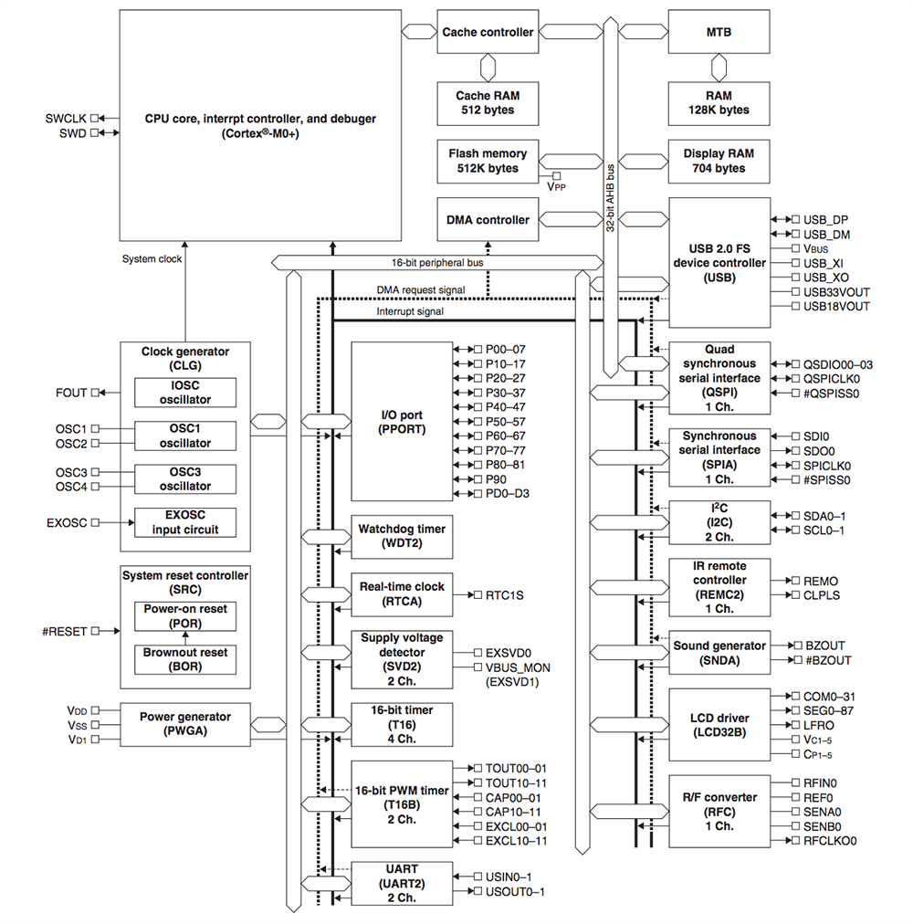
Block Diagram

Block Diagram - Epson ICs S1C31W74 32-Bit Microcontroller
Published: 2017-07-20 | Updated: 2022-03-11