Microchip Technology IS1870/71 BLUETOOTH® Low Energy SoCs

Microchip Technology IS1870/71 BLUETOOTH® Low Energy SoCs consist of a 2.4GHz transceiver, a Power Management Unit (PMU), Microchip’s BLUETOOTH Low Energy software stack, and an RF power amplifier.

The Microchip IS1870/71 BLUETOOTH Low Energy SoCs provide simple integration and programming, reduced development time, superior Bluetooth Low Energy solution with a low-cost system, interoperability with Apple® iOS and Android™ OS, and a wide range of application support.

The IS1870/71 SoC is optimized to maintain a low power wireless connection, and the small form factor package size is designed for wearable applications.

Features

  • Bluetooth smart 4.2 Bluetooth Low Energy compliant
  • 256 Kbytes embedded Flash memory
  • UART/SPI/I2C interface supported
  • Integrated crystal oscillator operates with 32MHz external crystal
  • Temperature sensor supported
  • 31 general purpose I/O (GPIO) pins for IS1870 SoC and 15 GPIO pins for IS1871 SoC
  • Supports 4-channel pulse-width modulation (PWM) for IS1870 SoC and 1-channel PWM for IS1871 SoC
  • Supports 12-bit ADC (ENOB=10 or 8 bits) for battery and voltage detection
  • 16-channel ADC for IS1870 SoC and 6-channel ADC for IS1871 SoC are provided
  • AES-CMAC hardware engine
  • Beacon support
  • Low power consumption
  • Compact size:
    • IS1871 in a 4mm x 4mm 32QFN package
    • IS1870 in a 6mm x 6mm 48QFN package

Applications

  • Internet of Things (IoT)
  • Wearable, fitness or healthcare
  • Weighing scale
  • Proximity/Find Me services
  • Secure payment
  • Digital beacons
  • Consumer appliances or home automation
  • Industrial

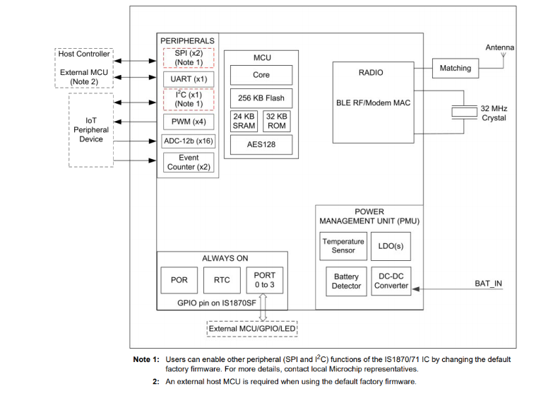
IS1870 Block Diagram

Block Diagram - Microchip Technology IS1870/71 BLUETOOTH® Low Energy SoCs

IS1871 Block Diagram

Block Diagram - Microchip Technology IS1870/71 BLUETOOTH® Low Energy SoCs

Videos

Published: 2021-03-15 | Updated: 2024-10-30