Microchip Technology MCP1502 High-Precision Buffered Voltage Reference
Microchip Technology MCP1502 High-Precision Buffered Voltage Reference comes with an initial accuracy of 0.10% and is available in 8 voltage options. The MCP1502 is a low-drift (7ppm max) bandgap-based reference and uses chopper-based amplifiers, which significantly reduce the drift and provide high current output.The Microchip Technology MCP1502 is available in a tiny 2x2 SOT-23 package and is AEC-Q100 Grade 1 qualified for use in automotive applications.
Features
- 7ppm/°C from -40°C to +125°C maximum temperature coefficient
- 0.1% initial accuracy
- -40°C to +125°C operating temperature range
- 140µA typical operating current
- 50ppm/V Maximum line regulation
- 40ppm/V Maximum load regulation
- 30µVRMS, 0.1Hz to 10kHz (1.024V) output noise
- AEC-Q100 qualified (automotive applications)
- -40°C to +125°C (Grade 1) temperature range
- 8 voltage variants are available
- 1.024V
- 1.250V
- 1.800V
- 2.048V
- 2.500V
- 3.000V
- 3.300V
- 4.096V
Applications
- Precision data acquisition systems
- Electric vehicle battery management systems
- High-resolution data converters
- Medical equipment applications
- Industrial controls
- Battery-powered devices
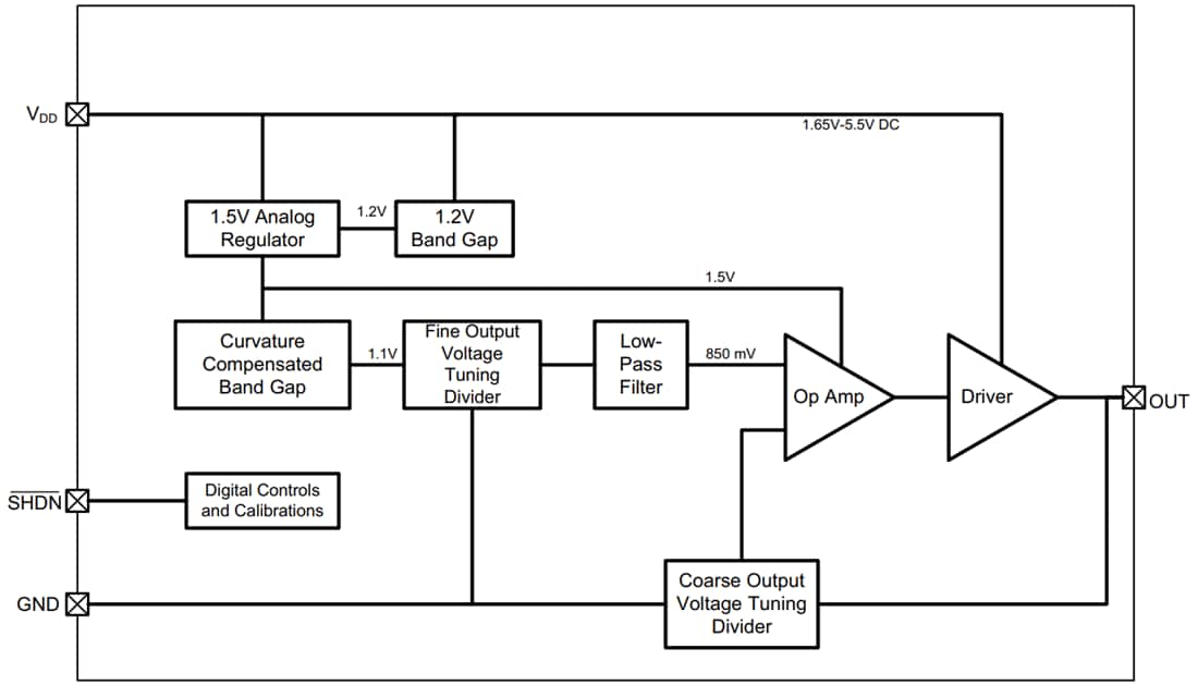
Block Diagram
Published: 2022-02-09
| Updated: 2022-03-22
