Microchip Technology MCP1662 LED Lighting Drivers

Microchip Technology MCP1662 LED Lighting Drivers are compact, space-efficient, fixed-frequency, non-synchronous step-up converters. These LED drivers are optimized to drive LED strings with a constant current from two/three-cell alkaline or Lithium energizers, NiMH/NiCd, or one-cell Lithium-Ion/Li-Polymer batteries. The MCP1662 lighting drivers blend a 36V and 800mΩ low-side switch protected by 1.3A cycle-by-cycle inductor peak current limit operation. The LED lighting drivers feature an Undervoltage Lockout (UVLO) that avoids start-up with low inputs or discharged batteries for two-cell-powered applications. These MCP1662 drivers offer open load protection. Typical applications include camera flash, medical equipment, LED flashlights, and backlight current source.

Features

  • 36V and 800mΩ integrated switch
  • Up to 92% efficiency
  • Drive LED strings in constant current
  • 1.3A peak input current limit
  • 2.4V to 5.5V input voltage range
  • 300mVFB feedback voltage references
  • Undervoltage lockout (UVLO)
    • 2.3VIN (typical) rising
    • 1.85VIN (typical) falling
  • Sleep mode with 20nA (typical) quiescent current
  • 500kHz switching frequency PWM operation
  • Cycle-by-cycle current limiting
  • Internal compensation
  • Open Load Protection (OLP) in the event of:
    • Feedback pin shorted to GND 
    • Disconnected LED string
  • Overtemperature protection

Applications

  • Two- and three-cell alkaline or NiMH/NiCd white LED drivers for backlighting products
  • Li-Ion battery LED lighting application
  • Camera flash
  • LED flashlights and backlight current source
  • Medical equipment
  • Portable devices:
    • Handheld gaming devices
    • GPS navigation systems
    • LCD monitors
    • Portable DVD players

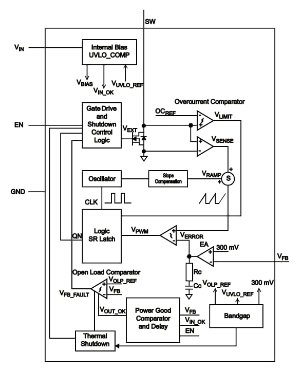
Block Diagram

Block Diagram - Microchip Technology MCP1662 LED Lighting Drivers

Typical Application Circuit

Application Circuit Diagram - Microchip Technology MCP1662 LED Lighting Drivers
Published: 2019-12-24 | Updated: 2023-06-12