Microchip Technology EQCO5X31 USB 3.2 Reclocker/Redriver

Microchip Technology EQCO5X31 USB 3.2 Reclocker/Redriver incorporates EyeOpen™ and MarginLink™ technologies for performance and reliability. Microchip Technology EQCO5X31 can reclock and drive a USB 3.2 SuperSpeed signal over a cable spanning up to 16 meters. The EQCO5X31 surpasses industry standards, enabling longer-reach applications. Notably, it extends the maximum cable length from 1 meter (as recommended for USB 2.0) to an impressive 5 meters for both USB 2.0 and USB 3.2.

Features

  • Extending the reach of USB 3.2 Gen 1 (SuperSpeed) up to 16m
  • Cable types supported are Shielded Twisted Pair (STP) and Coax
  • Cable lengths supported
    • Up to 5m when USB 2.0 signaling is included in a cable
    • Up to 16m when USB 3.2 only
  • EyeOpen technology automatically performs cable compensation 0 to 24dB with 1dB steps
  • MarginLink integrated signal integrity test capability
  • Reference Clock-free operation (no crystal or clock needed)
  • Clock-Data Recovery (CDR) restores signal timing integrity in both directions
  • Internal terminations for a low external component count
  • Transparent for all USB 3.2 SuperSpeed signaling, including LFPS and electrical-idle
  • Dual Channel Single Lane
  • 20-pin 4mm QFN package with wettable flanks
  • Low power consumption/single supply @ 1.2V
  • Ultra-low power sleep mode when a link is idle for a sustained period
  • Industrial temperature range

Applications

  • Extended reach for video conference systems
  • Extended reach cable for VR gaming applications
  • Extending active USB 3.2 cables
  • Extending USB3 Vision™ systems

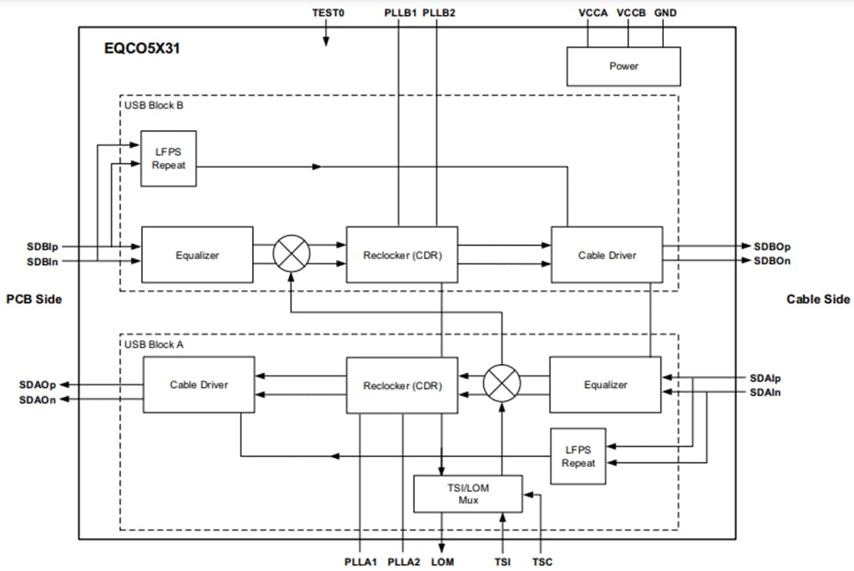
Block Diagram

Block Diagram - Microchip Technology EQCO5X31 USB 3.2 Reclocker/Redriver
Published: 2023-06-20 | Updated: 2023-08-08