Skyworks Solutions Inc. SI823Hx Gate Driver Boards
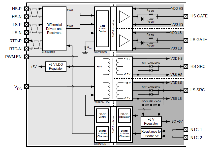
Skyworks Solutions SI823Hx Gate Driver Boards are ideal for driving power modules and discrete transistors. This two-channel isolated gate driver solution features a differential digital interface, optimized onboard isolated power supply, and user-configurable turn-on and turn-off gate resistors. The SI823Hx gate driver boards are available with 1Ω or 4Ω gate resistors and feature status indicator LEDs and test points that makes evaluation and prototyping easy. These gate driver boards offer overlap protection and reverse polarity protection for the 12V input supply. The SI823Hx boards operate at the -50°C to +85°C temperature range and 10.2V to 13.2V supply voltage range.Additional System Components
The Si823Hx gate driver board is highly versatile but must be combined with other components to form a complete system. The Si823Hx gate driver board requires differential signal inputs and most lab equipment only provides single-ended signals, it may prove helpful to use the Wolfspeed differential transceiver companion tool. Also, see other evaluation tools listed below.
Evaluation tool matrix
Evaluation tools
Features
- Two input high-side/low-side gate driver
- User-programmable dead-time
- Overlap protection
- 4A symmetric peak output current
- Available with 1Ω or 4Ω gate resistors
- Independent control of turn on/turn off timing through gate resistor selection
- Flexible isolated power supplies
- DC bus voltage up to 800V
- 5kVRMS safety rated isolation
- 125kV/μs Common Mode Transient Immunity (CMTI)
- Reverse polarity protection for 12V input supply
- Differential inputs for increased noise immunity
- Module temperature (NTC) output as frequency modulated digital signal
Specifications
- 10.2V to 13.2V supply voltage range
- 100kHz switching frequency
- -50°C to 85°C operating temperature range
- -50°C to 125°C storage temperature range
Kit Contents
- 1 x Si823H-ABWA-GDB gate driver board:
- Si823H2CD-IS3 two-channel isolated gate driver
- Si88421BC-IS two-channel digital isolator with integrated DC-DC converter
- 1 x quick start card
Block Diagram
Published: 2021-01-15
| Updated: 2022-03-11
