STMicroelectronics L99MC6GJ Medium Current Output Driver

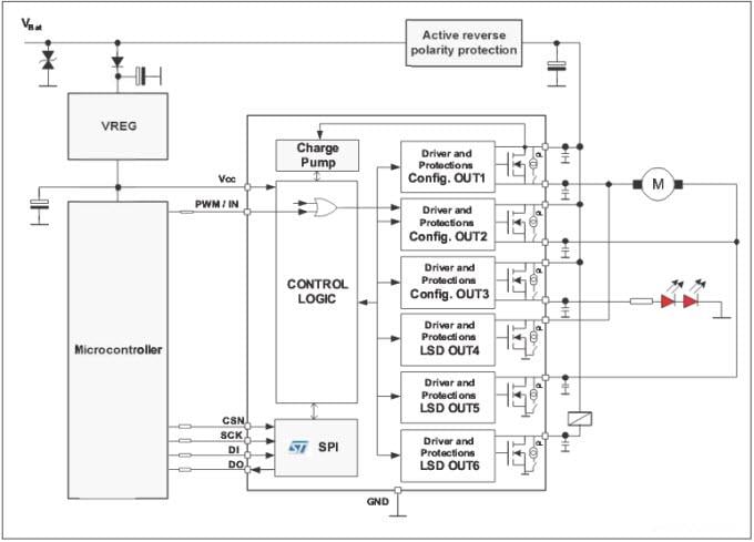
STMicroelectronics L99MC6GJ Medium Current Output Driver is a highly flexible monolithic driver. STMicroelectronics L99MC6GJ driver incorporates three dedicated low-side outputs (channels 4 to 6) and three independently self-configuring outputs  (channels 1 to 3). This driver can be used as either low-side or high-side drivers in any combination. The L99MC6GJ can control inductive loads, incandescent bulbs or LEDs.

Features

  • 3 independently self configuring high-/low-side channels
  • 3 low-side channels
  • 0.7Ω RON (typ) at Tj= +25°C
  • Current limit of each output at min. 0.6A
  • PWM direct mode
  • Bulb mode with recovery mode
  • LED mode with slew rate control
  • Bridge mode with crosscurrent protection
  • SPI interface for data communication
  • Temperature warning
  • All outputs overtemperature protected
  • All outputs short-circuit protected
  • Configurable open-load detection in off mode
  • 3.0V to 5.25V supply voltage
  • 5μA (typ) current consumption in standby mode
  • Internal clamp diodes
  • HS switches operate down to 3V crank voltage

Applications

  • Relay drivers
  • LED drivers
  • Motor drivers
  • Mirror adjustment

Application Diagram

Application Circuit Diagram - STMicroelectronics L99MC6GJ Medium Current Output Driver
Published: 2015-04-23 | Updated: 2022-03-11