Texas Instruments OPAx191 36V E-trim Operational Amplifiers
Texas Instruments OPAx191 36V E-trim Operational Amplifiers offer outstanding dc precision and ac performance. This includes rail-to-rail input/output, low offset (±5µV, typ.), low offset drift (±0.2µV/°C, typ.), and 2MHz bandwidth. These amplifiers have unique features such as differential input voltage range to the supply rail and high output current (±65mA). They also include high capacitive load drive of up to 1nF and high slew rate (5V/µs). This makes the OPAx191 a robust, high-performance operational amplifier that is ideal for high-voltage industrial applications. These devices are available in single (OPA191), dual (OPA2191) and quad (OPA4191) packages.Features
- ±5µV Low offset voltage
- ±0.1µV/°C Low offset voltage drift
- 15nV/√Hz at 1kHz Low noise
- 140dB High common-mode rejection
- ±5pA Low bias current
- Rail-to-rail input and output
- 2.5MHz GBW wide bandwidth
- 5V/µs High slew rate
- 140µA per Amplifier low quiescent current
- ±2.25V to ±18V, 4.5V to 36V Wide supply
- EMI/RFI Filtered inputs
- Differential input voltage range to supply rail
- 1nF High capacitive load drive capability
Applications
- Multiplexed data-acquisition systems
- Test and measurement equipment
- High-resolution ADC driver amplifiers
- SAR ADC Reference buffers
- Programmable logic controllers
- High-side and low-side current sensing
- High precision comparator
Additional Resources
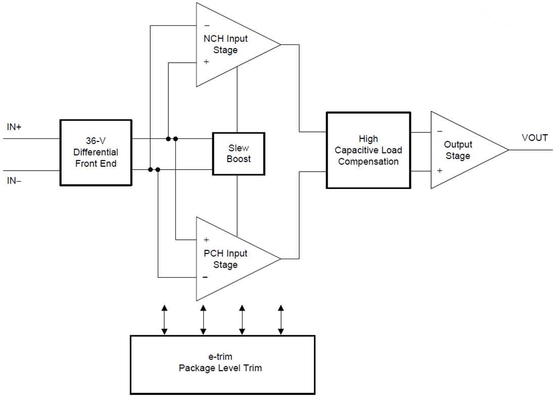
Functional Block Diagram
Published: 2016-04-11
| Updated: 2024-01-05
