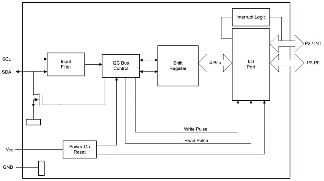
The system controller can enable the I/Os as either inputs or outputs by writing to the I/O configuration register bits. The data for each input or output is kept in the corresponding input or output register. The polarity of the Input Port register can be inverted with the Polarity Inversion register. An additional special function register can be used to disable the internal pull-up resistors and P3 override to an INT output.
The Texas Instruments TCA9536 open-drain interrupt output (when P3 is configured as INT in the special function register) is activated when any input differs from its corresponding Input Port register state. It is used to indicate to the system controller that an input state has changed.
The system processor can reset the TCA9536 in the event of a timeout or other improper operation by using an I2C soft reset command, which puts the registers in the register's default state.
Features
- I2C to GPIO expander
- Operating power-supply voltage range of 1.65V to 5.5V
- 5V tolerant I/O ports
- Software reset via I2C general call
- Software-enabled integrated pull-up resistors on P ports
- P3 can be repurposed as INT output
- 1MHz Fast mode plus I2C bus
- Input and output configuration register
- Polarity inversion register
- Internal power-on reset
- Power-up with all channels configured as inputs
- Noise filter on SCL and SDA inputs
- Latched outputs with high-current drive maximum capability for directly driving LEDs
- ESD protection exceeds JESD 22
- 2000V Human-body model (A114-A)
- 1000V Charged-device model (C101)
Applications
- Personal electronics
- Wearables
- Mobile phones
- Gaming consoles
- Servers
- Routers
Functional Block Diagram

